Home/Product/Stainless Steel Oval Manways NKD 7026

Stainless Steel Oval Manways NKD 7026

Overview


On this unit, a flat plate installed on the inside serves as the cover. A groove for an O-ring seal is incorporated into the cover. The quality of the seal can be adapted as required. The two large handles on the cover serve to facilitate closing the cover as well as providing a centering air when sealing. The face of the collar serves as the sealing surface.


Standard Design
  • Wetted material 1.4301/1.4404
  • Cover material 1.4301/1.4404
  • Silicone-gasket
  • With stainless steel toggle
  • Inward-open
  • Surface matte-finish
  • Oval spec(mm) 611×501
  • Full welding technology

    Options
  • Optional wetted materials 304,316,316L
  • Various surface qualities 0.4μm-0.8μm
  • Various surface finish: Mirror Polish, Sandblasted, etc.
  • Handle optional for Stainless steel
  • Neck thickness can be modified
  • Height can be modified
  • Optional Oval spec(mm)412×312, 434×334, 515×415
  • Gasket material optional for EPDM, FPM
  • Stainless Steel Oval Manways NKD 7026



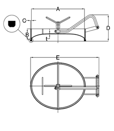
    Specs

    STANDARD SIZE /* At temperature 50℃/122℉
    CODE A C B T P.MAX
    mm mm mm mm bar
    7026 430 414×314 8 75 2.5/3.0 3
    7026 450 434×334 8 75 3.0 2.5
    7026 535 515×415 10 75 3.0 2
    7026 635 611×501 12 100 4.0 1.5
    IF YOU WANT TO CHECK FOR MORE DETAILS
    PLEASE CHECK THE FOLLOWING DRAWING
    *1BAR≈14.5PSI≈0.1MPA
    Stainless Steel Oval Manways NKD 7026

    NKD Parts drawing
    Stainless Steel Oval Manways NKD 7026
    GASKET
    Part No. Material Color
    7010 06 1 Silicone White
    7010 06 2 EPDM Black
    7010 06 3 FPM Black

    Item Description Material Qty
    1 Frame 1.4301/1.4404 1
    2 Cover 1.4301/1.4404 1
    3 Gasket EPDM 1
    4 Bracket T304 1
    5 Top nut Plastic/T304 1
    6 Suspension arm T304 1
    7 Nut T304 5
    8 Trust collar T304 1
    9 Hub T304 1

    NKD Technology
    TECHNICAL DATA
    Working pressure: . . . . . . . .Acc. to table standard size.
    EN10204. 3.1 certificate
    Options
    Stainless Steel Oval Manways NKD 7026
    Stainless Steel Finishes
    POLISHED WITH RA (μ)
    BEAD BLASTED
    PICKLED : ON REQUEST
    ELECTRO POLISHED

    Cover & Frame Range
    Cover Thickness Frame/Neck Height
    2.5mm 75mm (2.95”)
    3.0mm 100mm (3.94”)
    4.0mm 120mm (4.72”)
    150mm (5.91”)
    200mm (7.76”)
    Note: Longer heights are also available.


    Videos